Диафрагма к AR-2W и AR-2K
Доступен для скачивания
краткий каталог продукции:
Запасная диафрагма к клапанам AR-2W12, AR-2W12F, AR-2W21, AR-2W21F, AR-2K12, AR-2K21Таблица совместимости диафрагм и клапанов:
| Диафрагма | Клапаны
| |
| AR-2W21 и AR-2W12 | AR-2K21 и AR-2K12 | |
| 10...20
| Ду 10...20 | Ду 10...20 |
| 25 | Ду 25 (2W21-25, 2W12-25) | Ду 25 (2K21-25, 2K12-25) |
| 32
| Ду 32 (2W21-32, 2W12-32) | Ду 32 только для корпуса из нерж.стали
(2K21-32/30-GSZ и 2K12-32/30-GSZ) |
|
40 |
Ду 40 (2W21-40, 2W12-40) | Ду 32 только для корпуса из латуни
(2K21-32-GBZ и 2K12-32-GBZ) |
| Ду 40 (2K21-40/37 и 2K12-40/37) | ||
| Ду 50 Дэф 44 (2K21-50/44) | ||
| 50 | Ду 50 (2W21-50, 2W12-50) | Ду 50 Дэф 50 (2K21-50, 2K12-50) |
Технические характеристики
| Параметр | Значение |
| Клапаны | AR-2W12, AR-2W12F, AR-2W21, AR-2W21F, AR-2K12, AR-2K21 |
| Диаметр условного прохода | 10 мм, 15 мм, 20 мм, 25 мм, 32 мм, 40 мм, 50 мм |
| Материал | VITON или EPDM |
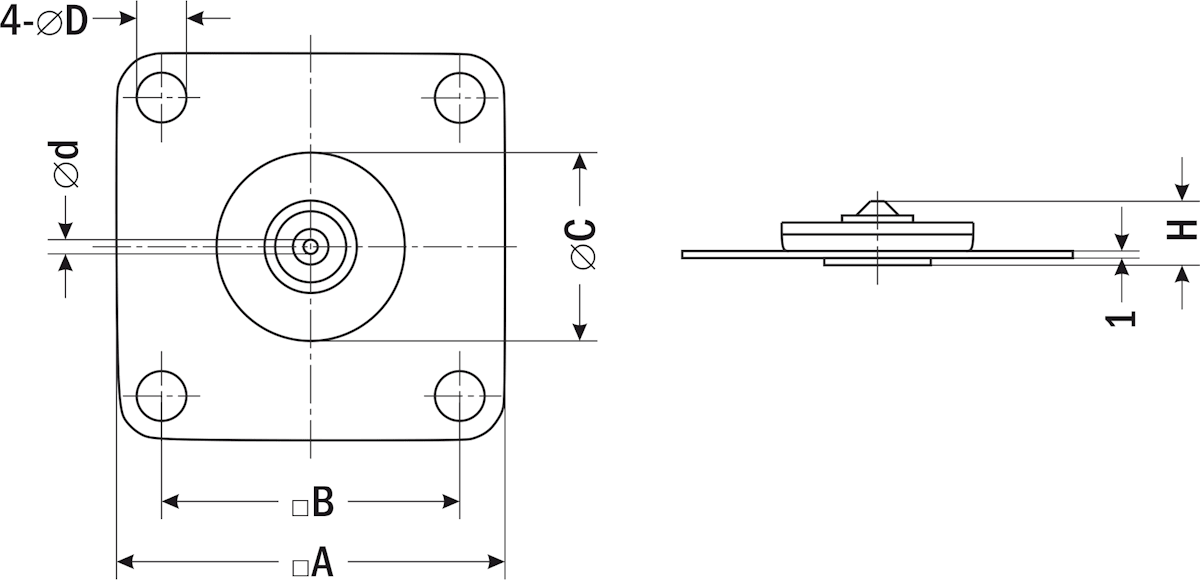
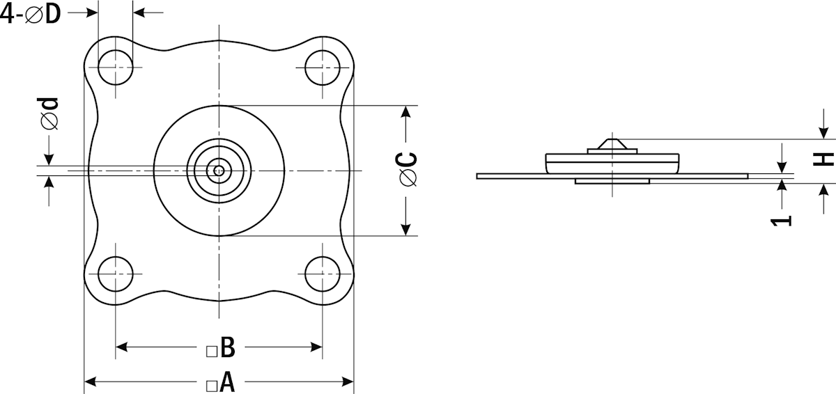
| Габаритные размеры |
Ду=10..20, 25 мм |
![]() Ду=32, 40, 50 мм
|
| ДУ
| A, мм
| B, мм
| C, мм
| D, мм
| d, мм
| H, мм
|
| 10…20 мм
| 55
| 43
| 27
| 6
| 2
| 10
|
| 25 мм
| 76
| 60
| 40
| 6
| 2
| 10
|
| 32 мм
| 86
| 65
| 48
| 8
| 3
| 11
|
| 40 мм
| 89
| 67
| 48
| 8,5
| 3
| 11
|
| 50 мм
| 119
| 93
| 66
| 11
| 3
| 16
|
Версия: 2025-07-18-СДГ
